晶振官方博客
更多>>聲表面波諧振器應用與類型
來源:http://www.gajd.com.cn 作者:konuaer 2012年04月26
康華爾電子有限公司:是一家專門生產聲表面濾波器,諧振器,石英晶體振蕩器為主的,公司采用全自動生產模式,ISO9000管理體系,現簡單的介紹一下聲表面諧振器產品功能與應用
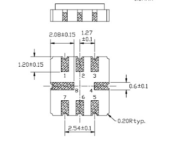
(SAW)諧振器
它的作用是用于汽車TPMS、遠程無鍵進入(RKE)、安全系統和有源RFID標簽。
隨著科學技術的進步,為對付不斷升級的盜車手段,人們一代一代研制各種方式、不同結構的防盜器,目前防盜器按其結構可分三大類;機械式、電子式和 網絡式。鉤鎖、轉達向盤鎖和變速擋鎖等基本屬于機械式防盜器,它主要是告鎖定離合、制動、油門或轉向盤、變速擋來達到防盜的目的,但只防盜不報警。插片 式、按鍵式和遙控式等都屬于電子式防盜器,它主要是靠鎖定點火或起動來達到防盜的目的,同時具有防盜和聲音報警功能。GPS衛星定位汽車防盜系統(或其他 網絡系統),將報警信息和報警車輛所在位置無聲地傳送到報警中心。一套完整的遙控汽車防盜器應由下面幾個部分組成;
(1)主機部分;它是防盜器的核心和控制中心。
(2)感應偵測部分:它可由感應器或探頭組成,目前普遍使用的是振蕩感應器,微波及紅外探頭應用極少。
(3)門控部分:包括前蓋開關、門開關及行李艙開關等。
(4)報警部分:喇叭。
(5)配線部分。
(6)其他部分:包括不干膠、螺釘及繼電器等配件和使用說明書及安裝配線圖等
同移動電話的工作原理相同,遙控式汽車防盜器的遙控器(發射機與防盜主機系統之間除了要有相同的發射和接收頻率之外,還要有密碼才能相互識別。
汽車防盜器的好與不好,主要由3個因素決定:防盜器產品質量、防盜器的安裝方法以及防盜的正確使用。
作者:康華爾電子---晶振帝國
(SAW)諧振器
它的作用是用于汽車TPMS、遠程無鍵進入(RKE)、安全系統和有源RFID標簽。
隨著科學技術的進步,為對付不斷升級的盜車手段,人們一代一代研制各種方式、不同結構的防盜器,目前防盜器按其結構可分三大類;機械式、電子式和 網絡式。鉤鎖、轉達向盤鎖和變速擋鎖等基本屬于機械式防盜器,它主要是告鎖定離合、制動、油門或轉向盤、變速擋來達到防盜的目的,但只防盜不報警。插片 式、按鍵式和遙控式等都屬于電子式防盜器,它主要是靠鎖定點火或起動來達到防盜的目的,同時具有防盜和聲音報警功能。GPS衛星定位汽車防盜系統(或其他 網絡系統),將報警信息和報警車輛所在位置無聲地傳送到報警中心。一套完整的遙控汽車防盜器應由下面幾個部分組成;

(2)感應偵測部分:它可由感應器或探頭組成,目前普遍使用的是振蕩感應器,微波及紅外探頭應用極少。
(3)門控部分:包括前蓋開關、門開關及行李艙開關等。
(4)報警部分:喇叭。
(5)配線部分。
(6)其他部分:包括不干膠、螺釘及繼電器等配件和使用說明書及安裝配線圖等

汽車防盜器的好與不好,主要由3個因素決定:防盜器產品質量、防盜器的安裝方法以及防盜的正確使用。
作者:康華爾電子---晶振帝國
正在載入評論數據...
此文關鍵字: 聲表面諧振器技術資料聲表面波諧振器應用與類型
相關資訊
- [2025-06-24]Greenray插件YH1300恒溫晶振OCXO的輸出...
- [2024-03-14]RTV119系列性能超強的溫補晶振由安德森...
- [2024-03-14]IQD最新推出IQXC-26系列體積超小耐輻射...
- [2024-03-12]Pletronics晶振最新推出的OSN4系列恒溫...
- [2024-03-08]回顧Bliley晶振八十多年的歷史進程
- [2024-03-08]Bliley如何測量并減少晶振老化帶來的影...
- [2024-03-07]Crystek行業標桿壓控晶振CVCO33BE-2352...
- [2023-09-28]遙遙領先的GEYER晶振跟大家一起探討尺寸...
- [2023-09-26]領先全球的HELE晶振帶你了解從原始石英...
- [2023-09-23]領先全球的Renesas Electronics Corpor...
- [2023-09-21]遙遙領先的Skyworks電子晶振有助于加快...
- [2023-09-19]關于遙遙領先的Skyworks Electronics公...